• 页面
    • 没有对字段定义的项目

    页面

    项目层页面使用方法详情参见组织层字段定义,我们将在本页面仔细为您讲解,组织层页面义与项目层页面之间的逻辑关系。

    • 菜单层次:项目层
    • 菜单路径:项目设置 > 页面
    • 默认角色:项目所有者

    没有对字段定义的项目

    没有对字段定义的项目:指创建后没有在项目层对字段定义进行编辑的项目。

    编辑过字段定义的项目,即便删除了添加的字段也属于定义过字段的项目。

    页面  - 图1

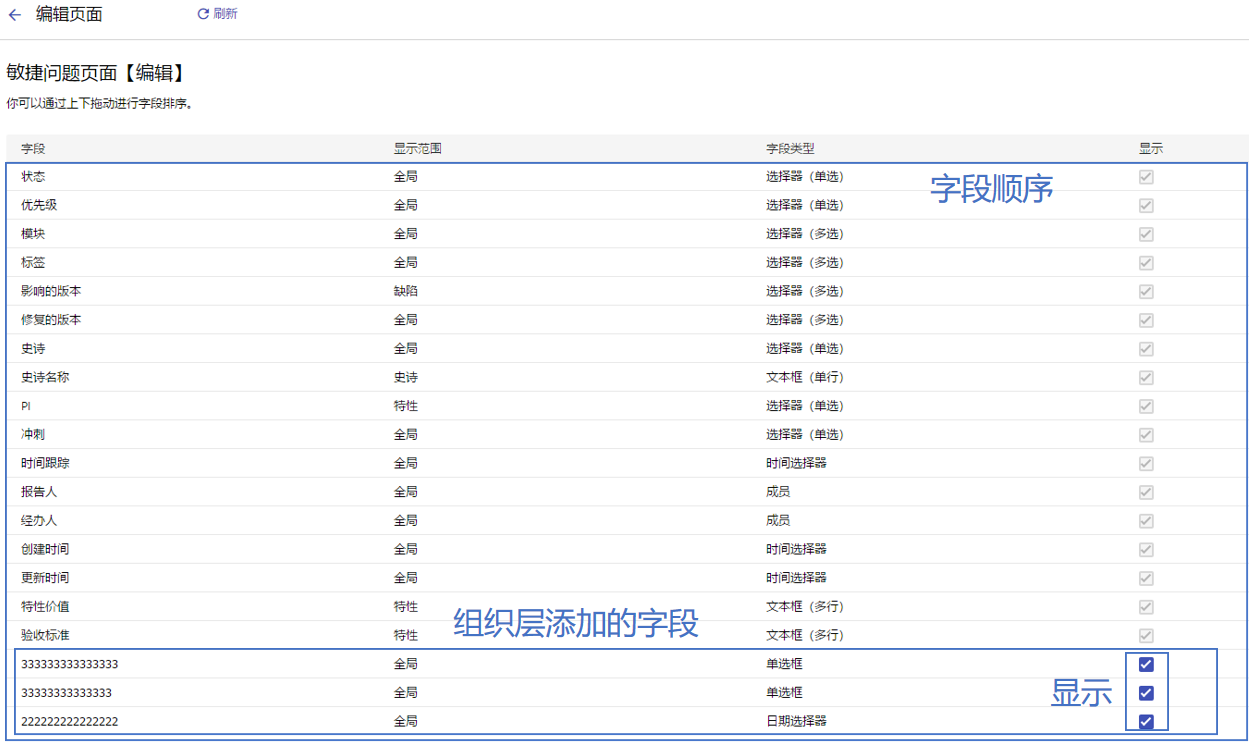
    没有对字段定义的项目,在组合层用户对字段进行添加、排序、显示编辑后该项目会同步编辑状态。

    页面  - 图2

    对字段定义过的项目,组织层用户添加的字段会同步编辑状态,但是字段顺序以及显示不会同步编辑状态,组织层用户进行编辑后,项目层用户会根据项目需要自行编辑。